La fonction de messages d’urgence par satellite est intégrée dans les iPhone depuis 2022 avec l’iPhone 14, et si elle ne sert pas tous les jours, il faut tout de même prendre en compte qu’elle peut sauver la journée... ou la vie. Seul souci, le débit est extrêmement faible, et il faut pointer à peu près précisément le satellite pour avoir un signal. Et si l’idée pour améliorer tout ça était d’utiliser la surface d’une coque ?

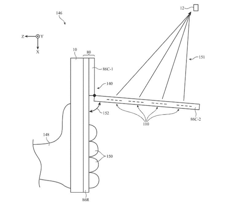
C’est tout le principe d’un brevet déposé par Apple en 2024, où tout le dos d’une coque est monté sur un pivot afin de la mettre quasi à l’horizontale, et ainsi être en position de capter plus efficacement un satellite. Cette partie mobile pourra être constellée de mini-récepteurs, donnant une antenne « phased array », sur le même principe que les antennes blanches distribuées par Starlink.
iPhone : Apple veut pousser la connexion satellite beaucoup plus loin
Cette méthode aurait aussi pour avantage de mettre tout l’équipement nécessaire à l’antenne elle-même dans la coque, plutôt que d’encombrer l’intérieur du téléphone. La communication se faisant, selon le brevet, par ondes radio, cette coque-antenne devrait aussi intégrer une batterie, afin d’être autonome sans avoir de fil à la patte. En version iPad, elle serait équipée d’un Smart Connector, lui permettant d’être alimentée par la tablette tactile.
En déplaçant l’antenne dans une coque, qui plus est en la mettant sur un pivot, Apple supprime deux limitations actuelle de ses iPhone pour contacter un satellite : à la fois la surface très limitée disponible sur le pourtour des smartphones modernes, mais aussi la main qui vient inévitablement bloquer une partie du signal.
Autre avantage non négligeable, cette antenne intégrée dans une coque permettrait de ne proposer cette possibilité qu’à ceux qui la jugent utile pour eux, sans alourdir la facture plus que nécessaire pour les autres.
Connectivité satellite : Elon Musk aurait forcé la main d’Apple pour utiliser Starlink au lieu de Globalstar
Reste un inconvénient : déporter tout le système de communication satellite dans une coque, c’est aussi le meilleur moyen d’à la fois diminuer le nombre de clients potentiels, mais aussi de rater pour l’utilisateur le moment où cette communication pourrait s’avérer vitale, juste parce qu’il aura oublié la coque, ou que celle-ci n’aura plus de batterie. Apple pourrait ainsi diviser les communications satellite en deux parties : une intégrée dans le téléphone comme actuellement pour les situations d’urgence où juste les messages passent, et une autre avec un plus gros débit utilisant la coque-antenne.


















